2020杭州1 12月GDP_12月杭州街拍(2)
时间:2021-03-31 11:01 类别:热点图片
责 : 2021年1月10日 2020年12月杭州高新区(滨江)教育局公开招聘教师体检人员名单
日程安排 【主办单位】 北京壹方城智汇科技有限公司 【时间地点】 2020年11月29-12月1日(杭州) 医养结合、智慧养老、社区养老、家庭式养老 、高端型社区养老、学院式养老、颐养文旅小镇、文旅地产、森林康养、温泉康养 等康养产
中新经纬app) 中新经纬客户端1月14日电 杭州市环境集团14日晚发布通告称,2020年1月14日12时45分许,杭州餐厨二期项目施工现场的4号罐体安装施工作业时发生爆裂,事故共造成三人死亡,相关专家已到现场,事故原因正在调查中。
数据来源:印尼中央统计局 印尼财政部长丝莉·慕雅妮去年12月曾说,政府预计2020年gdp将下降1.7%至2.2%,主要由居民消费萎缩导致 - 居民消费占印尼gdp的半
12月1日,余杭召开的打造国际一流营商环境·建设全国数字经济先行区动员大会,推出60条151项具体举措,力争到2022年,余杭数字经济总量突破2600亿,占gdp比重达
杭州1月市统考教师招聘 杭州市拱墅区2020年12月公开招聘教师98人
附件:1.2020年度杭州市物业管理优秀住宅类项目名单 2.2020年度杭州市物业管理优秀非住宅类项目名单 杭州市物业管理协会 2020年12月24日 2020年度杭州市物业管理优秀住宅类项目名单 2020年度杭州市物业管理优秀非住宅类
2020年1月,“电诉宝”接到浙江省的冯女士投诉称她于2019年12月21日在杭州常青网络科技有限公司旗下“杭州女装网”下单400元的衣服,冯女士于12月25日收到平台发的快递,发现衣服与实物不符,选择退货。
准考证打印 1.报考杭州市教育局直属学校:2020年7月7日9时—7月12日9时,考生登录杭州教育网“杭州市教育局招聘平台”下载打印准考证。
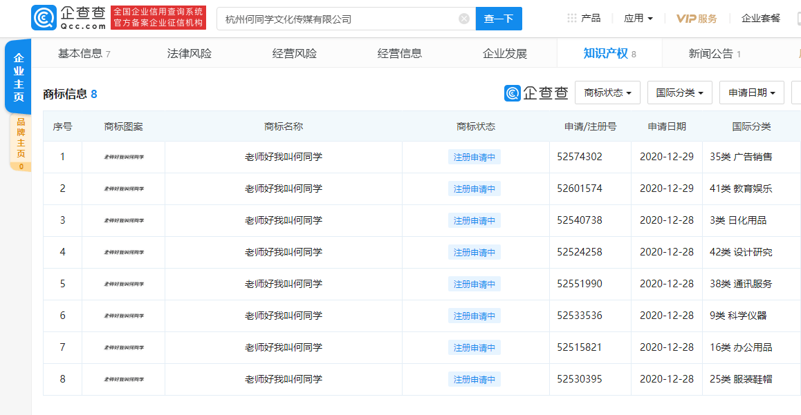
企查查app显示,何世杰(何同学)目前共关联1家公司,杭州何同学文化传媒有限公司成立于2020年12月15日,公司目前已申请注册“老师好我叫何同学”商标,其中包含
行业 融杭府 2020年12月21日至2020年12月27日的统计数据显示,绍兴越城区行政区(含袍江)商品住宅成交中,主城区成交97套商品房,成交面积13681.96平方米;袍江区域成交1套商品房,成交面积108.59平方米;镜湖区域成交商品房13
展览时间: 2020年12月22日—2021年1月17日 展览地点: 浙博孤山馆区·浙江西湖美术馆 展览地点: 杭州博物馆南馆 你拍了拍浙博——网友眼中的浙江省博物馆
阿里巴巴杭州总部)
12月加推楼盘信息如下: 近几年,未来科技城的发展突飞猛进,而拥有这个“主力军”的余杭如虎添翼,gdp年年攀升。
推荐阅读
相关文章阅读
- 最新文章
- 总排名
- 每月排行
- 推荐阅读
- 阅读排行
- 延伸阅读










